Anchoring Drilling Tools
Anchoring drilling tools are engineered for ground support applications including deep excavations, steep slope stabilization, and foundation anchoring. Manufactured from high-strength steel with reinforced thread designs, these tools ensure reliable self-drilling performance, high tensile resistance, fast penetration, and secure integration with self-drilling anchor systems.
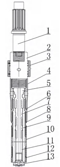
Component Display of the Integrated DTH System
The casing pipe is directly connected to the drilling rig, effectively preventing failure of casing advancement caused by casing or casing shoe breakage and ensuring smooth casing-follow drilling operations.
The anchoring drilling rods are equipped with dedicated extended threads, which effectively prevent separation from the rod body during rotation.
Anchoring casing bits with hard metal inserts provide significantly stronger impact rock-breaking capability compared with welded carbide plate bits, resulting in faster penetration rates and higher drilling efficiency.

Drilling Tool Assembly
- Shank adapter
- Flushing shaft
- Flushing ring
- Flushing adapter
- Balancing rod
- Nipple for external tube
- Nipple for internal rod
- External tube adapter
- Internal rod adapter
- Casing tube
- Drilling rod
- Crown bit
- Inner bit




