
Anchoring Drilling Rods
Anchoring casing bits with hard metal inserts and long round threads, designed for fast penetration, high torque resistance and secure casing advancement in foundation pits, ground reinforcement, slope stabilization and tunnel pipe roofing projects.
Request a Quote
Typical Applications
Foundation pits, ground reinforcement, slope stabilization, tunnel pipe roofing, and other anchoring support works.


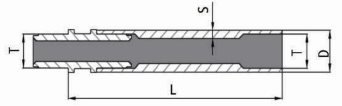
Technical Specifications

| L, mm | D, mm | S, mm | Thread (T), mm | Weight, kg | Product name |
| 2000 | 54 | 8.5 | 42 | 19 | 54 internal drilling rod |
| 2000 | 76 | 10 | 56 | 32 | 76 internal drilling rod |
| 1500 | 89 | 15 | 78 | 41 | 89 internal drilling rod |
| 1500 | 102 | 15 | 90 | 48 | 102 internal drilling rod |
| 1. The standard thread configuration is left-hand thread. 2. The standard connection between the drilling rod and adapter is threaded connection. Friction-welded connections are available upon request. |
|||||
Details

The anchoring drilling rods are equipped with dedicated extended threads, which effectively prevent separation from the rod body during rotation.
The threads adopt a round-thread profile, offering improved geometric conformity, enhanced load distribution, and higher resistance to loosening under continuous drilling conditions.




