Other Parts
Back hammer
The back hammer is designed to assist in pulling out the drill string. During stuck-hole or collapsed-hole operations, it can significantly reduce downtime and operational costs, improving overall drilling efficiency.
Breakout bench
A fully automatic hydraulic breakout bench designed for easy and efficient disassembly of drilling tools. The bench is user-friendly, fast to operate, and suitable for high-frequency on-site operations.
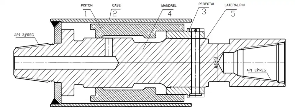
Shock Absorber
- Effectively absorbs reverse impact forces generated by the DTH hammer, protecting the drill rig power head, especially critical in large-diameter drilling applications.
- Available in two structural designs: Threaded type for water well drilling, oil & gas, shale gas, and geothermal applications; Hexagonal type primarily used in large-diameter foundation piling projects.
- Compatible with DTH drilling rigs, water well rigs, piling rigs, rotary drilling rigs, and related equipment.
Tube drawing Bench
A compact and lightweight device specifically designed for casing extraction. Its narrow structure allows operation in confined or limited-access sites, making it ideal for small pits and restricted job sites.



